社区活动 技术论坛 不对称公差带轮廓度分析 / ISO 1101 / Quindos
不对称公差带轮廓度分析 / ISO 1101 / Quindos
2022-12-21 15:34 599 0 1
理解轮廓度公差带定义如下图




在IS01101标准中


公差带图示


公差范围由两条线围成直径为t的圆,其圆心位于两条线之间在理论上具有准确几何形式的直线上。



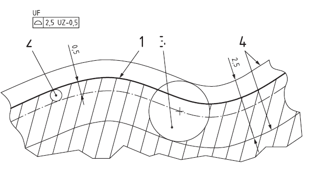
  ISO 1101 标准中表示轮廓度公差还有多种形式,比如UZ,OZ,Width and extent..




UZ 公差带定义,如下图:


默认情况下,公差区域是对称的,围绕着理论上准确的特征(1),使其成为参考的特征。使用UZ的公差区域偏移一个规定尺寸(-0.5)得到新的准确特征元素,其圆心位于新特征上,对称分布公差。



OZ 公差带定义,如下图:

允许容差区与准确的特征1对称的偏移数值不定, 可以向任何方向偏移任意大小。



可变宽度公差带


Quindos 软件线轮廓度评价命令

 可使用评价命令LineProfileUZ来进行轮廓度评价



对称公差带评价:



UZ 公差带评价 type 1



UZ 公差带评价 type 2



UZ 公差带评价 type 3



UZ 公差带评价 type 4



UZ 公差带评价 type 5



OZ 公差带评价





西部事业部 /重庆办 /张周斌


我要回复

登陆后才能评论

登录
所有回贴(1)

    

由于洞口基1688app 本观测不到洞底,科学家们只能估算168开奖app 出这些洞至少有80米到130米深。这些洞穴的发现具有重要意义。首先,如果火星上曾有原始生命形式存在,这3D稳赚app 些可能是火星上仅有的能为生命提供保护的天然结构。其次,如果条件适宜,这些洞穴将来168won预测开奖 可能作为人类登陆火星之后的居住点。每当夏季,这些洞穴里就会冒出甲烷


2023-03-23 12:16
回复
取消
提交
在线咨询
关注我们

海克斯康制造智能

电话咨询
400-6580-400

热线电话(工作时间8:30-17:30)

关注我们 电话咨询 在线咨询

海克斯康制造智能